
| GCAN-IO-8200用户手册中文版下载: | 点击下载 |
| GCAN-IO-8200用户手册英文版下载: | 正在更新中... |
| GCAN-IO-8200快速上手手册: | 点击下载 |
| 可带载插片式I/O的用户使用手册: | 点击下载 |
| 选型手册(总): | 点击下载 |
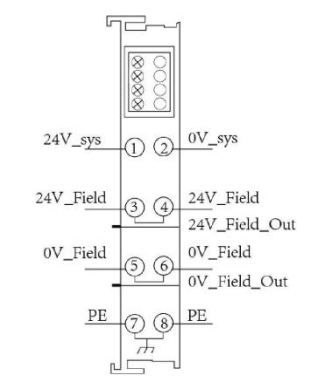
GCAN-IO-8200 EtherCAT 总线耦合器的电源接线端子排如图 2.5 所示。
GCAN-IO-8200 EtherCAT 总线耦合器包含 8 个端子,各个端子对应的序号及其含义如表 2.1 所示。请注意,3 号端子与 4 号端子之间、5 号端子与 6 号端子之间、7 号端子与 8 号端子之间,在模块的内部是相连的。

图 2.5 GCAN-IO-8200 EtherCAT 总线耦合器模块电源接线端子排

表2.1 GCAN-IO-8200 EtherCAT总线耦合器模块电源接线端子定义